送信機
下の送信機は1967年、当局が開局するときに作った3.5〜50MHZ用A3(AM)送信機です。当時は無線設備を自作することは当たり前のことで、コンタクト時に「私の無線機は自作です」といっても「そんなことは当たり前のことじゃないか、変なことを言う人だ」と思われるような時代でした。
ハンドドリル(当時電気ドリルは持たなかった)やリーマ、シャーシーパンチなどの手持ちの工具類を総動員し、手に豆を作りながら完成まで約1ヶ月程度かかったように記憶しています。
送信機作りと同時にシングルコンバージョンタイプの受信機も自作しましたが、これについては小倉工業高校の生徒さんに無償譲渡しましたので、現在は手元に残っていません。この送信機だけはどうしても処分できず、私のガラクタ倉庫内に残しておりました。
下の写真の送信機の上に乗っている灰色の四角いケースは、この送信機用のVFOです。参考までに私のNO5号機を送信機の右上に載せてみました。こうやってみると時代の流れをしみじみと感じます。
今の人から考えると、何で開局する時点で送信機を自作できるか不思議に思われるかもしれませんが、昔アマチュア無線を開局するような人は、それなりの自作経験を積んでおり、その延長線上に無線機の自作がつながっていました。私の例でいいますと、中学校の家庭科実習でST菅の5級スーパーラジオを組み立てました。
ラジオの組み立て経験のない中学生が実態配線図を見ながら組み立てても、当然のことながら全く動作しませんでした。そのあと複雑な調整が要らない高一ラジオの自作に再挑戦し、これは見事に完成しスピーカーからラジオの音声が聞こえた時の感動は今も忘れられません。実はこの成功経験が病みつきになり、入ってはいけない自作の道に入り込みました。
その後ラジオやオーディオアンプを自作を続けていました。ここで考えますと、ラジオ=受信機ですので受信周波数がBC帯かアマチュア無線帯かの差だけで、ラジオが自作できるならアマチュア無線用の受信機が自作できるということになります。
また送信機に関しても音声増幅回路はオーディオアンプの回路と全く同じで、オーディオアンプのアウトプットトランスが変調トランスに代わるだけです。高周波送信回路についても、BC帯のワイヤレスマイクの実験をすでに経験していましたので、扱うパワーが大きいか小さいかの差しかありません。
このように考えると、開局前にアマチュア無線の無線設備が自作できても不思議はありません。実際わたしの場合も特に難しいということはなく、割とすんなり完成したように記憶しています。何よりわたしの周りには無線設備やアンテナなど、色々な物が自作できる技術力を持ったアマチュア無線技士がたくさんいました。
また無線のコンタクト内容も、現在のような「シグナルリポート5/9、カードはJARL、またお会いしましょう 73 ! 」ではなく、自作に関する技術的な情報交換等が盛んに行われていました。わたしが下の写真のような送信機を自作したのは、無線設備は自作するのが当たり前の、古き良き時代背景があったからかもしれません。

下の左側の写真は、送信機を上から写した写真です。左上の四角いアルミケースで囲んだ中には、タンクコイルと終段真空管6146が入っています。左下のトランスは電源平滑回路用のチョークコイルです。そのすぐ横の真空管(縦に2本)の下は水晶使用時の発振管6CL6、これはVFO使用時には緩衝増幅用として動作します。また上の真空管はドライバー用の6CL6です。(※6CL6はテレビの映像増幅管で12BY7と同じような性能の真空管です)
右端上側の黒い大きなトランスが電源トランスです。また、その下は変調トランス、その左横の真空管4本が音声増幅用の6AU6、12AX7、7189A(6BQ5)×2です。詳細は覚えていませんがコイルキット(※販売メーカーは忘れました)を購入し、電源トランスとチョークコイルはオーディアンプ用の手持パーツを流用し、変調トランスや手持ちのない真空管類は秋葉原の小澤電気商会(※私はこのお店の通販常連客だった)から通販で購入しました。
下の右側の写真は、シャーシ内の部品取付状況です。必要なところにはちゃんとシールド板をつけています。自分で言うのもおかしいんですが、女子マラソンの有森選手の名言「自分で自分を誉めてやりたい」気分です。いやーこの頃は馬力があったと今更ながら感じています。
![]()
![]()
※昭和42年開局申請時の自作送信機工事設計書(控)
![]()
![]()
下の写真は送信機用のVFOです。当然のことながら、LCは基本通りLCボックス内に入れています。このVFOは3.5MHz台を発信させ3.5MHzから28MHzまでの送信用として使用していました。
50MHz帯の運用ではこのVFOは使用せず、確か8MHz台の水晶を使ってスポット運用していたように記憶しています。また金属ケース全体は、VFO用として摂津金属から発売されていたものを使用しています。
下の写真は当時の運用状態を再現したものです。左下にVFO、その横に送信機、送信機の上に受信機(八重洲のFR-50)を置いています。これだけのセットを揃えてやっとコンタクトできるわけですから本当にご苦労様です。
VFOの上に酔狂でNO5号機を置いてみました。出力こそ違うものの、こんな小さな設備でSSBの電波が出せ、しかもQRHが無いんですから世の中進歩しました。しかしこうやって並べてみますと、昔のセットの方がなんとなく重みがあり(もちろん重量の話ではありません)、いかにもこれが無線設備だと感じるのは、やはり昔のアマチュア無線家の考え方なんでしょうか!?

開局して数年間は(約2年位?)AM電波で交信していましたが、それまでA3(AM波)が主流だった電波の中に、時々モガモガという音の電波が聞こえるようになりました。それがSSB波であることは、すでに雑誌の記事等で紹介されていましたので、容易に推察できました。ところが私の高1中2受信機では復調が難しく、RFゲインを頻繁に調整して何とか復調できる状態でした。
ちょうどその頃、八重洲無線からSSB運用を目的とした受信機FR-50が発売されました。そこで、なけなしのボーナスをはたいてこの受信機を購入しました。この受信機はペアの送信機FL-50と組み合わせトランシーブ操作ができるようになっていました。SSBで運用はしてみたいがSSB送信機を買うほどお金がありません。それに送受信機ともメーカー製を使うことに、アマチュア無線技師として若干の抵抗(負け惜しみか?)もありました。
そこで、自分の技量を棚に上げ、大胆不敵にもFR-50とトランシーブ操作の出来るSSB送信機を作ってみようと考えました。下の写真はその時に作ったSSBジェネレーターとトランスバーターです。
結論から先に申しますと、この無謀な計画は見事に失敗しました。当時はテスタープラスαくらいの測定器しかなく、キャリアポイントを合わせるための周波数カウンターすら持っていませんでした。回路構成は、455KHzのSSBジェネレーターでSSB信号を発生させ、これに受信機から取り出した第1局発(16MHz台固定)と第2局発(5MHz台可変)をミックスし、21MHzのSSB波を作る計画でした。
回路構成的には間違ってなかったんですが、現時点で細かく検討して見ますと、SSBジェネレーターで使用したトランジスターは、トランジスターラジオについていたもの(ゲルマニュームタイプ)で、果たしてまともな発振レベルが得られていたかどうか疑問です。さらに受信機からの局発信号を2つも受け取って使用していますので、この辺のレベル(受信機用局発をそのまま使用するなら、バファーアンプが必要)にも問題があったと思われます。
5MHZのSSB信号波をトランジスターラジオで確認(一応モガモガ音で聞こえた)したものの、目的の21MHzSSB信号をパワーとして取り出すことはできませんでした。その後仕事関係の転勤や何やかやで中断し、結局この計画は現在も未完成のままになっています。
2年くらい前の話なんですが、山口県内でアパート住まいをしている息子(大学生)の関係で、山口市内のリサイクルショップ(骨董品も置いてある)を覗く機会がありました。
別に骨董品に興味があった訳ではありませんが、昭和20年代のものと思われるST管の5球スーパーラジオ数台が目にとまりました。MT管使用の物ですとそれほど珍しくもないんですが、ST管使用ということで妙に懐かしく興味をそそられました。
最終的にこのリサクルショップからは、合計3台のST管式ラジオを持ち帰りましたが、ここで紹介するラジオはその中の1台で、下のような格好をしたラジオでした。
持ち帰ってシャーシの中を覗いて驚きました。持ち帰った3台の内、1台だけシャーシの中に、抵抗やコンデンサー等の部品が全くついていませんでした。シャーシの中は裸銅線のアースラインが一直線に配線してあるだけでした!!。そういえば、確かに「現状渡し」というラベルが貼ってありました。骨董品屋のオヤジも心得たもんです。私は「現状渡し」? まさか修理して渡す訳でもあるまいにと勝手に思っていました。
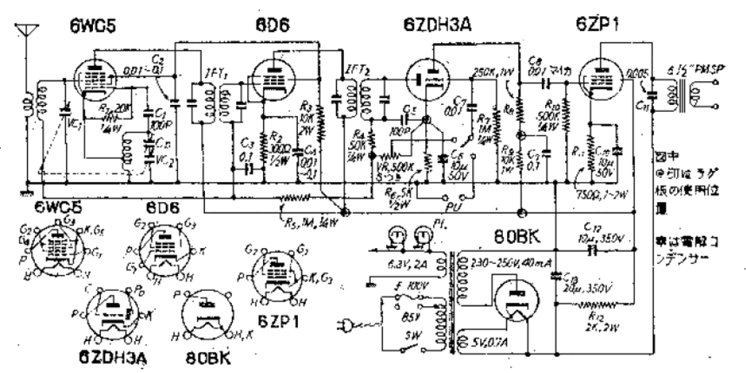
そのような訳で、中学2年生以来、実に30数年ぶりにST管の5球スーパーラジオを組み立てることになりました。使用されている真空管は、ST管の6WC5、6D6,6ZDH3A,6ZP1,80BKです。定番のラインナップ「いやー懐かしい名前だ」とOMさんから声がかかりそうです。
どのような回路図で組み立てかの記録は残っていませんが、たぶん下のような回路で組み立てたと思われます。下の回路図は昭和25年12月号(Dec,1950)のラジオ技術という雑誌に掲載されていたものを転載させていただきました。回路的にはST管5級スーパーの定番回路だと思います。
※下記画像をクリックすると拡大して見ることができます。
さて組み立てようと思ってはみたものの、真空管用の部品となるとそう簡単にはいきませんでした。幸い真空管式のオーディオアンプの残骸を残していましたので、コンデンサーや抵抗はそれから外して使用しました。特にグリッド回路など高い電圧のかからない箇所のコンデンサーは、現在トランジスター回路などで使用しているコンデンサー(50V耐圧)でなんとか間に合わせました。
一番難問題だったのは、局発コイルとパッテイングコンデンサーがなかったことです。あちこち探しまわりましたがなかなか見つからず、最終的に自作仲間のJA6DWO局(花村氏)の「開かずの部屋」の宝箱(ガラクタ入れ)を探してもらい、やっと見つかりました。
何とか部品が揃ったところで、昔を思い出しながら久しぶりに真空管式ラジオを組立ました。完成したラジオのシャーシの内部は、下記の写真のようになりました。ラグ板を使用しコンデンサーや抵抗類をまとめましたので、わりかしすっきりした仕上がりになっています(※自画自賛か?)
シャーシ内に部品がなかったことは、一見運が悪かったように思えましたが、組立後調整する段階で「こんなに5球スーパーは感度が良かったかなー」と思うほど放送波が聞こえていました。考えますと確かに昔に比べ放送局側の出力が上がっています。アンテナ線は2mほどのビニールコードしか使用していませんでしたがNHKや民放各局が強力に聞こえていました。
「災い転じて福となす」中学2年生の時に作って完成させることができなかった、5球スーパーラジオ作りの再挑戦することができました。部品調達に四苦八苦したこともありましたが、久しぶりにST管の5球スーパーラジオを組立てて遊ぶことがができたんですから、骨董品屋のオヤジに感謝、感謝です。下の写真はST管の5球スーパーラジオの組立が完了した状態のものです。
懐かしい実体配線図が見つかりました!
ST管の5球スーパーラジオを組立るため回路図を探していましたら、ST管使用高一ラジオの回路図が見つかりました。いやー懐2しい。そういえば中学生時代は、実体配線図ばかり見ながら作っていましたね。
下の実体配線図2の方に印刷物の発行年月日が入っています。これによると昭和31年4月25日、富士製作所(STAR)となっています。実に42年前の印刷物ということになります!それにしても実態配線図は実にうまく描いてありますね。プロの絵書きさんが描かれたとは思いますが、実機を見ながら忠実に描かれたんでしょうね。OMさんから懐かしいと声がかかりそうです。見ていただくと若かりし頃にタイムスリップできるかもしれませんね。
![]()
![]()
![]()
ホームページに戻る